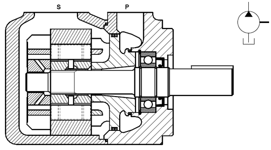
DENISON丹尼遜T7B, T6C, T6D, T6E系列單聯(lián)葉片泵
DENISON丹尼遜T7B, T6C, T6D, T6E系列單聯(lián)葉片泵最高工作壓力從190bar至320bar可選,最大排量從40ml/rev至269ml/rev可選。泵的重量從7.0Kg至43.3Kg。此系列葉片泵主要用于工業(yè)和行走機械。 示例型號: T7B-B10-1R00-A1M1, T6C-025-1R00-C1。
DENISON丹尼遜T7B, T6C, T6D, T6E系列單聯(lián)葉片泵剖面圖:

DENISON丹尼遜其他葉片泵:
DENISON丹尼遜TB系列單聯(lián)葉片泵
DENISON丹尼遜TB系列單聯(lián)葉片泵
8.8 - 39.7 ml/rev.
- 190 bar.
示例型號:TB-011-1R00-A100
DENISON丹尼遜T7BB, T67CB, T6CC, T67DB, T6DC, T6DDS, T67EB, T6EC, T6ED, T6EE系列雙聯(lián)葉片泵
DENISON雙聯(lián)葉片泵
最高壓力:P1:240-320 bar,P2:240-320 bar。
最大排量:P1:50-269 ml/rev,P2:50-158 ml/rev。
示例型號:T6CC-025-020-1R00-C100, T6DC-045-014-2R00-C1。
點擊查看DENISON丹尼遜T7BB,T67CB,T6CC,T67DB,T6DC,T6DDS,T67EB,T6EC,T6ED,T6EE系列雙聯(lián)葉片泵的詳細介紹》
DENISON丹尼遜T67DBB, T67DCB, T6DCC, T67DDBS, T6DDCS, T67EDB(S), T6EDC(S)系列三聯(lián)葉片泵
DENISON三聯(lián)葉片泵
最高壓力:P1:240 bar,P2:240-300 bar,P3:280-300 bar。
最大排量:P1:158-269 ml/rev,P2:50-158 ml/rev,P3:50-100 ml/rev。
示例型號:T6EDC-072-042-020-1R00-A1F0。
點擊查看DENISON丹尼遜T67DBB, T67DCB, T6DCC, T67DDBS, T6DDCS, T67EDB(S), T6EDC(S)系列三聯(lián)葉片泵的詳細介紹》
DENISON丹尼遜T6CR, T6DR, T6ER系列帶尾驅(qū)動單聯(lián)葉片泵
DENISON帶尾驅(qū)動單聯(lián)葉片泵
最高壓力:240-280 bar。
最大排量:100-269 ml/rev。
示例型號:T6DR-031-1R00-B10-A1。
DENISON丹尼遜T6EE系列帶尾驅(qū)動雙聯(lián)葉片泵
DENISON帶尾驅(qū)動雙聯(lián)葉片泵
最高壓力:P1:240 bar,P2:240 bar。
最大排量:P1:269 ml/rev,P2:269 ml/rev。
示例型號:T6EE-072-045-2R00-A10-M0。
DENISON丹尼遜T6DCCR, T6EDCR系列帶尾驅(qū)動三聯(lián)葉片泵
DENISON帶尾驅(qū)動三聯(lián)葉片泵
最高壓力:P1:240 bar,P2:280 bar,P3:280 bar。
最大排量:P1:158-269 ml/rev,P2:100-158 ml/rev,P3:100-100 ml/rev。
示例型號:T6EDCR-072-042-020-1R00-A1F0。
DENISON丹尼遜T6H系列混合泵
DENISON混合泵 T6H20B, T6H20C, T6H29B, T6H29C, T6H29D 系列
最高壓力:P1:210-280 bar,P2:280-300 bar。
最大排量:P1:43-62 ml/rev,P2:50-158 ml/rev。
示例型號:T6H20C-020-1R1B-F00-2M1-00 。
DENISON丹尼遜SDV系列葉片泵
DENISON丹尼遜SDV系列葉片泵
最高壓力:100-160 bar。
最大排量:3.3-42.4ml/rev。
示例型號:單聯(lián):SDV10-1P5S-1CL,單聯(lián):SDV20-1P8S-1CL,雙聯(lián):SDV2010-1F13S3S-1CCL,雙聯(lián):SDV2020-1F13S8S-1CCL。